Dual 2x2 Multi-mode Mechanical Fiberoptic Switch(Latching or Non Latching)

AC Photonics’ MMS Series switch connects optical channels by redirecting an incoming optical signal into a selected output fiber. This is achieved using a patent pending opto-mechanical configuration and activated via an electrical control signal. The mechanical operation offers ultra-high reliability and fast switching speed as well as bi-directional performance. The MMS fiberoptic switches are true switching solutions for optical networking applications.

 

Features

   

  Applications   

  • Unmatched Low Cost
  • Low Insertion Loss
  • Latching or Non-Latching
  • High Channel Isolation
  • Highly Stable and Reliable
  • Epoxy-Free Optical Path
   
  • Optical Signal Routing
  • Optical Network Protection/Restoration
  • Configurable Optical Add/Drop
  • Transmitter and Receiver Protection
  • Network Test Systems
  • Instrumentation

 

 

Performance Specifications

Parameter

Specification

Operating Wavelength (nm)

850, 1310, or 1550 ± 40

850/1310, 850/1550, 1310/1550

Insertion Loss (dB)

<1.0 (P Grade), <1.2 (A Grade)
<1.2 (P Grade),<1.4 (A Grade)

Wavelength Dependent Loss (WDL) (dB)

<0.25

<0.30
Polarization Dependent Loss (PDL) (dB)
<0.05
Cross Talk (dB)

>35

Return Loss (dB)

>35

Switching Speed (typ.) (ms)

<10 (Typ.4)

Operating Voltage (V)

5+10%

Power Handling (mW)
500
Durability (Cycles)
10 Million

Operating Temperature (°C)

0 ~ +70

Storage Temperature (°C)
-40 ~ +85

Dimensions (LxWxH) (mm)

32.76x12.6x11.0(Or custom size)

 

 

Electrical Pin Configuration:

Optical Path
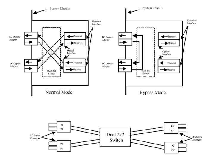
Port1 - Port4 and Port2 - Port3
Port1-1', Port2-2', Port3-3' and Port4-4'
Electric Drive
Non Latching
Pin1
Pin10
 
Latching
Pin1
Pin5
Pin6
Pin10
 
V+
GND
GND
V+
Sensor Status
Non Latching and Latching
Pin2-3, Pin8-9 Open
Pin2-3, Pin8-9 Close
Pin3-4, Pin7-8 Close
Pin3-4, Pin7-8 Open

Specifications may change without notice

 

Dimensions(mm)

Dimmension of Mechanical Switch 1X2

 

Application

 

 

Ordering Information

2MMS

 

option 

Operating  Wavelength

Port

Grade

Fiber Type

Pigtail style

In/Out Connector

 

L=Latching
N=Non-Latching

 

13=1310 ±40nm
15=1550±40nm
85=850 ±40nm
35=1310/1550nm
38=1310/850nm
58=1550/850nm

 

0202=2x2

P = P Grade
A = A Grade

1 = 50/125 Multi-mode
2 = 62.5/125 Multi-mode

1=Bare fiber
2=900um Jacket

0=None
1=FC/APC
2=FC/PC
3=SC/APC
4=SC/PC
5=ST
6=LC
7 =Duplex LC